
DON'T SEE WHAT YOU NEED?
CONTACT US
|
|
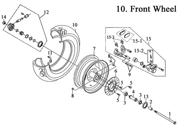
10-6 Disc Brake Rotor 750214 $99.00 |
|
|
10-7 Front Rim 750207 $98.00 |
|
|
10-10 Front Tire 750208 $70.50 |
![]() |
10-15 Disk Brake Caliper 750211 $94.00
|
![]() |
10-15-1 Brake Pads 750003 $30.00
|
